财政部公告:上千种化工产品可申请不被加税!
8月28日上午,财政部关税司发布“对美加征关税商品(第二批)排除申报系统于2019年8月28日开放”的公告,从现在起,在华企业及协(商)会可通过财政部关税政策研究中心网站注册、登录,并开始填写排除申请。9月2日,排除申报系统正式接受第二批商品排除申请。
申请流程
1.登录系统
网址:https://gszx.mof.gov.cn 长按下方二维码跳转至申报系统页面。
.png)
.jpeg)
.jpeg)
.jpeg)

申请成功,一年内不会加税
国务院关税税则委员会将组织对有效申请逐一进行审核,开展调查研究,听取相关专家、协会、部门的意见,并按程序制定、公布排除清单。
1.对排除清单内商品,自排除清单实施之日起一年内,不再加征我为反制美301措施所加征的关税;
2.具备退还税款条件的,对已加征的关税税款予以退还,相关进口企业应自排除清单公布之日起6个月内按规定向海关申请办理。
3.对排除清单公布前已经停止或已暂停加征关税的商品,已加征关税不予退还。
具备退还税款条件的主要有两种情形,一是排除清单按税则税目进行排除的,二是排除清单所列商品为税则税目中的一部分,且海关有条件退税的,如在税则税目基础上,海关有附加编码。
上千种化工产品可申请排除
第二批可申请排除商品清单共包括5140项产品,清单中可申请排除的化工产品达上千项。相关生产企业一定要把握住这次机会,积极参与申请排除,将大大降低自身进口相关产品的成本。
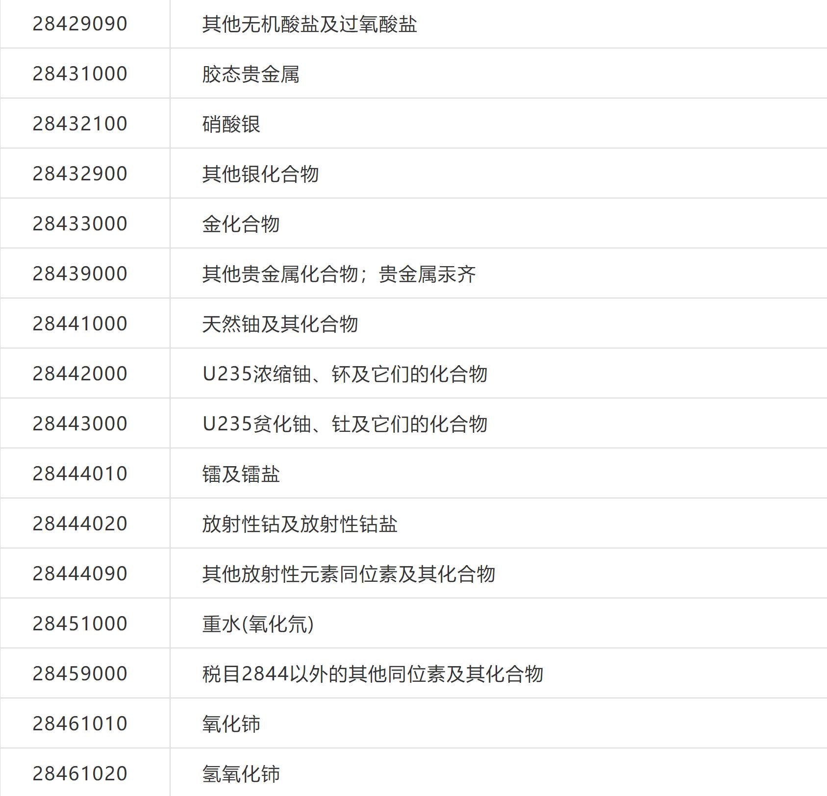
可申请排除的化工产品清单如下(部分化工产品清单):
.jpg)
.jpg)
.jpg)
.jpg)
.jpg)



目前,第一批申请工作已于6月初启动,目前正在着手第二批申请排除工作。上面是就操作流程和排除清单进行了说明下面是有媒体结合税则委文件,就部分问题及解答罗列如下,以期解惑。
1.问:第一批有哪些商品被排除,如何知道结果?
答:第一批排除申请已经结束,但结果尚未公布。相关程序较多,需要的时间较长,只能耐心等待,具体结果财政部关税司会在官网公布,网址:http://gss.mof.gov.cn/
2.问:申请排除的是哪些产品?
答:美国对中国出口至美国的商品加征了关税,作为回应,中国对从美国进口至中国的商品也加征了关税。本次申请排除的,是后者,即中国对美加征关税的进口商品,而非出口至美国的中国商品(美国也有排除,中国企业可以借助相关力量给与影响)。
3.问:第二批排除什么时间申请?
答:第一批申请工作已经结束。第二批申请时间为 2019年 9月2日至 2019年10月18日,期间登录申报系统,填报并提交第二批排除申请。
网址:https://gszx.mof.gov.cn
4.问:一个税号商品分别填报一份表格吗?
答:申请排除一个税则号列(以下称税号,8 位,下同)商品填报一份表格。申请排除多个税号商品的,每个税号商品分别填报一份表格。同一个税号商品,企业已经向行业协(商)会提交信息,且已由行业协(商)会汇总填报的,企业不能重复填报。
5.问:大概需要填哪些信息?
答:1.商品基本信息; 2.企业近3年进口情况; 3.加征关税对企业的影响; 4.申请排除的理由;(每项下面会有具体分项)。
6.问:提交商品排除申请后,何时可以查询排除结果?是否需要参加相关听证会?更多企业尽早提交排除申请,对排除结果有何影响?
答:申请主体提交商品排除申请后,国务院关税税则委员会将组织对有效申请进行逐一审核,开展调查研究,听取相关专家、协会、部门意见,并按程序制定、公布排除清单,具体时间和结果以公告为准。
7.问:商品排除(结果) 是针对某个企业还是具体税目?不同申请主体是否可以同时申请排除同一税目?
答:商品排除是针对税则税目(8 位税目)全税目商品或税则税目项下部分商品进行排除,不针对特定企业或行业。经审核列入排除清单的商品,所有利益相关方都可享受排除措施。同一税目涉及多个申请主体时,各申请主体可分别填报排除申请。
8.问:哪些主体可以申请商品排除?即报关单上显示的申报单位、收发货人(境内收货人)、实际(消费) 使用单位等是否都可以申请商品排除?
答:申请主体为申请排除商品的利益相关方,包括从事相关商品进口、生产或使用的在华企业或其行业协(商)会。利益相关方均可申请商品排除,但应避免各利益相关方针对同一报关单上商品重复填报排除申请。
9.问:某集团公司各分公司分别自美进口加征关税商品,各分公司分别申报,还是集团公司统一申报?
答:如各分公司是独立法人,可以分别申报。如果各分公司不是独立法人,则需集团公司填报排除申请。
10.问:是否可以申请排除 8 位税目项下部分商品?
答:申请主体可自主选择申请排除 8 位税目项下全部或部分商品。
11.问:自其他国家和地区进口原产于美国的加征关税商品,并已缴纳 25%加征关税,是否可以申请商品排除?
答:如该商品原产地为美国,并已缴纳加征关税,可以按要求填报商品排除申请。
12.问:某公司是否可以注册多个申报账户?
答:一家公司仅能注册使用一个申报账户,如公司自美进口不同税目项下商品,可提前收集各不同税目项下商品相关数据材料,统一按税目填写排除申请。
13.问:提交商品排除申请后,发现部分信息填报错误,如何修改填报信息?
答:申请退回,修改后重新提交。
14.问:如申请排除的商品同时符合两个税目项下的商品描述或税目曾经变动过,以哪个税目为准进行排除申请?
答:一般情况下申请排除商品税目应与该商品进口报关所使用税目一致。
15.问:申请排除8位税目项下全部商品与申请排除8位税目项下部分商品有何区别?应如何填报?
答:申请主体可自主选择申请排除 8 位税目项下全部商品或部分商品。申请排除一个税目商品填报一份表格。申请排除多个税目商品的,每个税目商品分别填报一份表格。如选择申请排除8位税目项下部分商品,可有两种选择:一是按10位编码选择一项或多项商品,二是10位编码不能准确描述所需排除商品的情况下,可填写形态及理化等指标明确、海关能现场辨别的商品。
16.问:申报排除商品用途与申报系统所列商品用途无法完全对应?
答:建议选择最相近商品用途,并可在排除理由中进一步说明。
17.问:列入排除清单商品是否可以申请退税?
答:对排除清单内商品,自排除清单实施之日起一年内,不再加征我为反制美301 措施所加征的关税;具备退还税款条件的,对已加征的关税税款予以退还,相关进口企业应自排除清单公布之日起 6 个月内按规定向海关申请办理。对排除清单公布前已经停止或已暂停加征关税的商品,已加征关税不予退还。具备退还税款条件的主要有两种情形,一是排除清单按税则税目进行排除的,二是排除清单所列商品为税则税目中的一部分,且海关有条件退税的,如在税则税目基础上,海关有附加编码。
18.问:如何申请退税?
答:退还关税税款原则是“谁缴税,谁退税”。申请退税相关事项请以后续公布的排除清单为准。
来源:有料化学,如有侵权联系删除
- 上一篇:山东叫停“两低三高”化工项目 2019/8/30
- 下一篇:304不锈钢180升三相26m化工潜泵型号参数 2019/8/30
